Product Summary
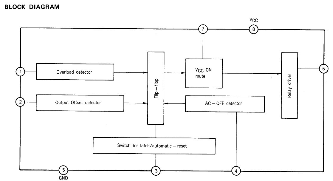
The UPC1237HA is a monolithic integrated circuit designed for protecting stereo power amplifiers and loudspeakers.
Parametrics
UPC1237HA absolute maximum ratings: (1)power supply voltage: 60 V; (2)allowable power dissipation: 320 mW; (3)operational temperature: -20 to +75; (4)storage temperature: -40 to +125; (5)pin 6 maximum current: 80 mA; (6)pin 4 maximum voltage: 10 V; (7)pin 8 maximum voltage: 8 V; (8)pin 1 maximum current: 3 mA; (9)pin 2 maximum current: ±3 mA; (10)pin 7 maximum voltage: 8 V.
Features
UPC1237HA features: (1)work stably within a wide power supply voltage range. (VCC=25 to 60V); (2)contain a relay driver. (Max. I6=80mA); (3)work as either latching function or automatic resetting function by using pin 3; (4)need only single power supply; (5)both positive and negative output offset can be detected the same pin; (6)AC voltage can be detected; (7)the time delay from amplifier power ON to relay ON can be freely set by selecting external components.
Diagrams

![]() |
![]() UPC1150C |
![]() Other |
![]() |
![]() Data Sheet |
![]() Negotiable |
|
||||
![]() |
![]() UPC1188H |
![]() Other |
![]() |
![]() Data Sheet |
![]() Negotiable |
|
||||
![]() |
![]() UPC1215V |
![]() Other |
![]() |
![]() Data Sheet |
![]() Negotiable |
|
||||
![]() |
![]() UPC1246C |
![]() Other |
![]() |
![]() Data Sheet |
![]() Negotiable |
|
||||
![]() |
![]() UPC1342V |
![]() Other |
![]() |
![]() Data Sheet |
![]() Negotiable |
|
||||
![]() |
![]() UPC1350C |
![]() Other |
![]() |
![]() Data Sheet |
![]() Negotiable |
|
||||
(China (Mainland))








