Product Summary
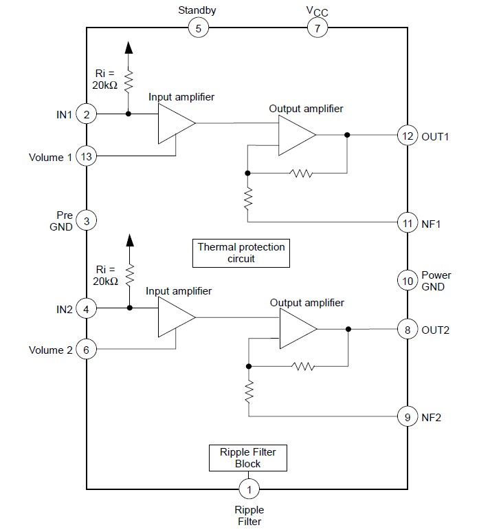
The LA42352 is 5W 2-channel AF power amplifier with DC volume control intended for televisions. It consist of four kinds of power IC. (mono, stereo, mono with volume function, stereo with volume function.). It realized PCB layout communalization of an audio power block of TV.
Parametrics
LA42352 maximum ratings: (1)Maximum supply voltage VCC max No signal: 24 V; (2)Allowable power dissipation Pd max Infinite heat sink: 15 W; (3)Maximum junction temperature Tj max: 150 ℃; (4)Thermal resistance θjc: 3 ℃/W; (5)Operating temperature Topr: -25 to +75 ℃; (6)Storage temperature Tstg: -40 to +150 ℃.
Features
LA42352 features: (1)PO 5Wx2ch (VCC = 18V, RL = 8Ω, THD = 10%); (2)Built-in DC Volume Control; (3)Built-in Standby function; (4)Built-in overheat protection.
Diagrams

| Image | Part No | Mfg | Description | ![]() |
Pricing (USD) |
Quantity | ||||||||||||
|---|---|---|---|---|---|---|---|---|---|---|---|---|---|---|---|---|---|---|
![]() |
![]() LA42352 |
![]() Other |
![]() |
![]() Data Sheet |
![]() Negotiable |
|
||||||||||||
| Image | Part No | Mfg | Description | ![]() |
Pricing (USD) |
Quantity | ||||||||||||
![]() |
![]() LA42031 |
![]() Other |
![]() |
![]() Data Sheet |
![]() Negotiable |
|
||||||||||||
![]() |
![]() LA42031-E |
![]() ON Semiconductor |
![]() Audio Amplifiers POWER AMPLIFIER |
![]() Data Sheet |
![]()
|
|
||||||||||||
![]() |
![]() LA42032 |
![]() Other |
![]() |
![]() Data Sheet |
![]() Negotiable |
|
||||||||||||
![]() |
![]() LA42032-E |
![]() ON Semiconductor |
![]() Audio Amplifiers POWER AMPLIFIER |
![]() Data Sheet |
![]()
|
|
||||||||||||
![]() |
![]() LA42051 |
![]() Other |
![]() |
![]() Data Sheet |
![]() Negotiable |
|
||||||||||||
![]() |
![]() LA42052 |
![]() Other |
![]() |
![]() Data Sheet |
![]() Negotiable |
|
||||||||||||
(China (Mainland))










